型 號:油田用旋轉吊鉤
規 格:3噸-8噸油田用旋轉吊鉤
公司名稱:龍升
保質周期:3
價 格(≤ 1) ¥電議 /臺
優惠價格(≥ 5):電議

油田專用旋轉吊鉤,油田旋轉吊鉤,油田旋轉鉤

油田用旋轉吊鉤介紹:
◆油田專用旋轉吊鉤是一款用于油田吊裝作業的索具,通常與油田鉆機配套使用;
◆油田旋轉吊鉤具有防擰繩的作用,其組成結構有:卸扣(合金鋼40Cr模鍛件,4倍安全系數),旋轉體(40Cr加工而成,體內裝有壓力軸承)和羊角安全鉤(35CrMo模鍛制造的,5倍安全系數)組成;
◆油田旋轉鉤特殊規格可按需定制.

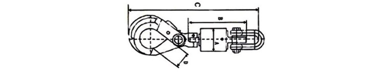
油田用旋轉吊鉤尺寸圖:
|
載荷(噸) |
A(mm) |
B(mm) |
C(mm) |
D(mm) |
自重(kg) |
|
3 |
88 |
195 |
420.5 |
40 |
7 |
|
5 |
96 |
229 |
487.8 |
50 |
13.8 |
|
8 |
128 |
315 |
628.8 |
60 |
19.6 |
注:由于產品不斷改良,當外形與參數變更時,均以實物為主,想要了解更多產品詳情可電話聯系我們.

油田用旋轉吊鉤實物圖:



油田用旋轉吊鉤屬于龍升品牌產品,保質3個月,在保質期內,出現產品自身的質量問題,可免費調換配件,若在操作使用過程中造成的產品損壞可收費維修,該產品終身保修.