型 號:G型
規 格:0.35-5噸
公司名稱:日本鷹牌EAGLE CLAMP
保質周期:12
價 格(≤ 1) ¥電議 /臺
優惠價格(≥ 5):電議

G橫吊鋼板起重鉗屬于日本鷹牌EAGLE CLAMP原裝產品,屬于橫吊鋼板鉗,采用特殊鋼制,結構穩定,使用壽命長久,煙臺開發區龍海起重工具有限公司為鷹牌EAGLE CLAMP鋼板鉗代理商.
![]()
◆G橫吊鋼板起重鉗采用插銷式彈簧鎖緊機構,操作安全;
◆G橫吊鋼板起重鉗屬于窄面型鋼板鉗,小型輕量;
◆G橫吊鋼板起重鉗帶有拉環式安全鎖扣,安全操作有保障;
◆G橫吊鋼板起重鉗緊固力量是負載物載荷的2倍以上,緊固力大,防止重物脫落.
![]()
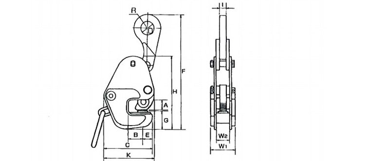
EAGLE CLAMP G橫吊鋼板起重鉗尺寸圖:

|
型號 |
使用載荷 |
有效板厚 |
尺寸mm |
自重 |
||||||||||||
|
A |
B |
C |
D |
E |
F |
G |
H |
I |
K |
R |
W1 |
W2 |
||||
|
G-350 |
350 |
2~16 |
19 |
22 |
72 |
22 |
15 |
149~177 |
27 |
115 |
10 |
81 |
18 |
43 |
22 |
1.4 |
|
G-500 |
500 |
3~20 |
27 |
25 |
95 |
25 |
20 |
196~225 |
33 |
145 |
12 |
110 |
25 |
60 |
28 |
2.9 |
|
G-500 |
500 |
16~32 |
35 |
35 |
109 |
25 |
20 |
208~240 |
33 |
157 |
12 |
124 |
25 |
60 |
28 |
3.3 |
|
G-1 |
1000 |
3~25 |
27 |
40 |
133 |
25 |
27 |
245~283 |
50 |
194 |
18 |
138 |
30 |
68 |
36 |
5.6 |
|
G-1 |
1000 |
16~36 |
39 |
43 |
141 |
35 |
27 |
267~293 |
51 |
207 |
16 |
146 |
30 |
68 |
36 |
6.2 |
|
G-2 |
2000 |
5~35 |
40 |
51 |
148 |
35 |
27 |
295~347 |
60 |
230 |
21 |
155 |
40 |
80 |
40 |
10.0 |
|
G-2 |
2000 |
20~50 |
55 |
55 |
169 |
35 |
27 |
315~353 |
66 |
251 |
21 |
176 |
40 |
80 |
40 |
12.3 |
|
G-3 |
3000 |
5~40 |
43 |
55 |
181 |
40 |
35 |
358~410 |
73 |
276 |
27 |
188.5 |
42 |
94 |
50 |
18.8 |
|
G-5 |
5000 |
5~40 |
53 |
50 |
200 |
50 |
37 |
405~450 |
87 |
310 |
28 |
213 |
55 |
103 |
55 |
27.0 |
注:由于產品不斷改良,當外形與參數變更時,均以實物為主,想要了解更多產品詳情可電話聯系我們.
![]()
EAGLE CLAMP G橫吊鋼板起重鉗實物圖:

![]()
EAGLE CLAMP G橫吊鋼板起重鉗主要用于H形鋼,T形鋼,山形鋼,I型鋼,鋼骨,橋梁,鐵鋼構物,鋼板,鋼制梁,鋼制框架等的橫吊、水平吊、搬運、反轉、回轉、熔接、組裝、搭載、沖壓加工等.
![]()
EAGLE CLAMP G橫吊鋼板起重鉗為日本原裝進口產品,保質1年,我公司承諾凡是客戶在我公司定購的進口類產品均為原裝正品,絕不存在拆件貨,換件貨,假冒品牌產品,凡客戶從我公司訂購該品牌產品如收到貨物時發現有拆件貨,換件貨,假冒、假貨仿貨均以100倍金額賠償。